Immagina di affrontare un boss per la decima volta, solo per vedere un “fantasma” digitale di te stesso intervenire e finire il lavoro. Sony ha appena brevettato una nuova radicale tecnologia AI che potrebbe cambiare il modo in cui gestiamo la frustrazione.

L’ultimo brevetto di Sony, riemerso all’inizio del 2026, descrive un sistema noto come “Ghost Assistance”. Tuttavia, non si tratta solo di un semplice suggerimento testuale o di una scia luminosa sul pavimento.
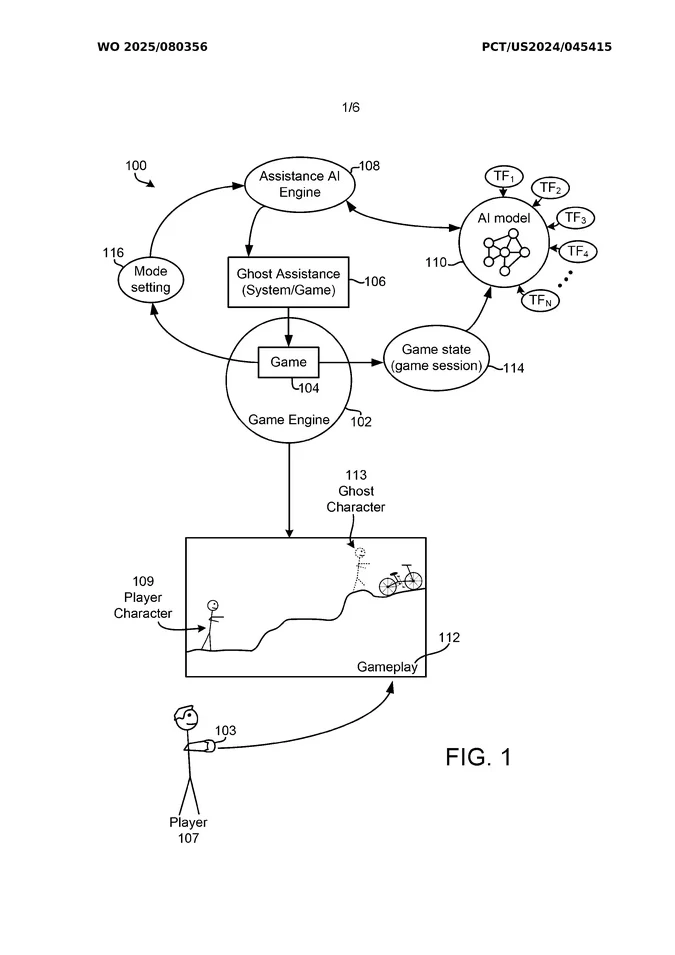
Come riportato da VGC, il brevetto descrive come, invece di chiudere il gioco, potresti presto evocare un assistente AI, o “Ghost Player”, che impara esattamente come giochi.
👉 LEGGI ANCHE: Leak PS6: tutto quello che sappiamo sulla console next-gen
Sony AI Gaming Ghost: La fine dei blocchi in gioco?
La tecnologia utilizza un motore di assistenza AI addestrato su migliaia di ore di filmati di gameplay della community. Crea un personaggio “Fantasma” che appare nella tua sessione live per dimostrare esattamente come superare un ostacolo specifico.
Che tu sia bloccato su un complesso enigma in Uncharted o su un boss che richiede un tempismo perfetto in Elden Ring, l’IA analizza lo stato attuale del tuo gioco e fornisce una soluzione personalizzata.
PlayStation AI vs Autonomia del Giocatore
Il brevetto descrive due modalità principali: Modalità Guida e Modalità Completamento.
Nella Modalità Guida, il fantasma agisce come un coach, eseguendo le azioni necessarie mentre tu guardi, per poi restituirti il controller. La Modalità Completamento va oltre, consentendo all’IA di assumere il pieno controllo e completare l’intera sezione per te.
Questo solleva un grosso interrogativo. Tutto ciò uccide la soddisfazione di vincere? Superare una sfida è una parte fondamentale dell'”anima” del gaming.
Se un’IA può saltare le parti difficili, il valore di certi trofei o il prestigio di battere un titolo difficile potrebbero svanire. Tuttavia, per i giocatori con poco tempo o con esigenze di accessibilità, è una potenziale svolta.
Sony accenna anche al fatto che questa IA potrebbe essere conversazionale, utilizzando il linguaggio naturale per spiegare perché sta compiendo certe mosse. È un’evoluzione delle schede “Aiuto per il gioco” di PS5, che passa da video statici a un partner attivo che impara.
Il Sony AI Gaming Ghost ne vale la pena?
Se implementato, questo sistema rappresenterebbe una vittoria enorme per l’accessibilità. Elimina la necessità di uscire dal gioco per consultare YouTube, mantenendoti immerso nel mondo virtuale. Ma per i puristi, sembra un “pulsante per saltare”.
Pensi che un’IA che prende il controllo del controller sia uno strumento utile o la fine della sfida?
Scarica l'estensione gratuita per browser di Allkeyshop
Per le ultime notizie sui videogiochi, trailer e le migliori offerte, assicurati di aggiungerci ai preferiti.
Puoi trovare tutte le migliori e le più economiche offerte sulle key, codici dei giochi, carte regalo e software antivirus dai venditori verificati che puoi trovare nelle pagine del nostro negozio.
Per non perderti nessuna novità su Allkeyshop, iscriviti su
Notizie di Google
.